Vindingrijk is hét vakblad voor de Nederlandse uitvinder. NOVU-leden ontvangen het magazine viermaal per jaar in de brievenbus. Een digitale versie is voor leden gratis te downloaden via de ledenomgeving van de website. Ook lid worden? Kijk op novu.nl/wordlid
Jonge uitvinder Dax van der Laan - Vindingrijk 2025-02
Piepjonge Dax bedenkt dingen aan de lopende band

Jong geleerd is oud gedaan. Dat weten we bij de NOVU. En daarom breken we een lans voor de 8-jarige Dax van der Laan. Alles wat hij onderweg tegenkomt, en dat is nogal wat want hij reist met zijn ouders en broertje rond door Europa, raapt hij bij elkaar en maakt er iets nieuws van. Met De Vliegenknijper als voorlopig hoogtepunt.
Geen seconde hoeft Dax van der Laan (8) na te denken over wat hij later wil worden. ,,Uitvinder,” klinkt het resoluut. Sterker, hij wíl het niet worden, hij is het al. ,,Ik heb al verschillende uitvindingen gedaan. De meest bijzondere is nu nog De Vliegenknijper, daar is zelfs (door een octrooigemachtigde, red) voor mij patent op aangevraagd. De Vliegenknijper is een vliegenmepper met twee handvaten en scharniertjes ertussen zodat je erin kunt knijpen. Hetzelfde systeem als bij een heggenschaar, zeg maar. Ik heb twee versies gemaakt. Eentje waarmee je de vlieg doodt, en eentje waarmee je dit insect in een kommetje opvangt zodat je hem buiten kunt loslaten.”
Nu nog? ,,Ja, ik denk na over een zaadjesplantmachine die geschikt is voor kleine boerderijen. Meer verklap ik niet.”

Brandnetelsoep
Een interview met Dax gaat met horten en stoten. Dat ligt zeker niet aan hem. Dax praat honderduit. Hij verblijft momenteel in de ruige bergen van Bosnië die zo dunbevolkt zijn dat er haast geen ontvangst mogelijk is. Zijn moeder Jolanda, die de telefoon draagt, zit onbewogen op een steen. Zodra ze ook maar een meter opschuift, kraakt de lijn of valt de verbinding weg. Een nomadenbestaan kent niet uitsluitend voordelen.
Brecht en Jolanda van der Laan uit Kamerik, nabij Woerden, besloten in augustus 2024 voor minimaal een jaar eropuit te trekken met hun zonen Dax (nu 8) en Jep (5). Het camperleven bevalt hen zo goed dat ze zojuist hebben besloten er nog een jaar aan vast te plakken. ,,We leven de hele dag buiten, in de vrije natuur. Om dit met elkaar mee te maken, dat is rijkdom. Een sociaal leven hebben we nu even niet. Familie en vrienden, die missen we wel eens. Het delen van gebeurtenissen, dat staat op een laag pitje. Daar staat tegenover dat we nu geen onderdeel zijn van een consumptiemaatschappij. Dat schept ruimte. Eten doen we in en bij de camper, of we gaan ergens picknicken. Soms staan we ergens waar geen winkel te bekennen is. Dan plukken we brandnetels en maken daar een soep of pesto van. Brood bakken we zelf, in een koekenpan. Onderweg hebben we van iemand een zuurdesemstarter gekregen. Daarmee maken we ons eigen deeg. Rondreizen wakkert je zelfredzaamheid van. Je wordt er heel creatief van.”
De Vliegenknijper werkt volgens hetzelfde principe als een heggenschaar
Megaleergierig
Daarop vertrouwend durfde het echtpaar het aan de kinderen tijdelijk uit het klaslokaal te halen. ,,Dax geven we les in rekenen en schrijven, zijn broertje is daarvoor nog te jong. De rest leren ze in de praktijk. Onze kinderen zijn megaleergierig. Ze denken niet uitsluitend binnen de lijntjes, ze denken in mogelijkheden. In het willen weten zijn ze heel gretig. Als we aan het wandelen zijn, ruiken ze aan elke plant. Bergthee en boterbloemen lijken op elkaar. Boterbloemen zijn echter giftig. Als ik hen vraag of ze wat bergthee willen plukken, komen ze niet met boterbloemen terug.”

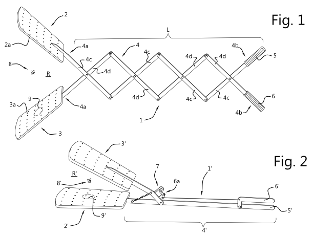
Figuren 1 toont De Vliegenknijper, zoals voorgesteld door Dax. Figuur 2 toont een geopperde variant, die het nadeel van het van de gebruiker af bewegen van de mepperbladen niet heeft, en door het doen ontspannen van een veer ook een grotere mepsnelheid mogelijk maakt. Tekeningen Tony ter Horst
Al reizende is De Vliegenknijper bedacht. ,,Ik ben zomaar wat gaan tekenen. Na een kwartiertje ofzo stond De Vliegenknijper op papier. Daarna heb ik ‘m met papa in elkaar gezet. Of we veel last hadden van vliegen in de camper? Die hadden we in het begin van onze reis, in Italië en in Slovenië. Ik denk niet dat er een direct verband is tussen die vliegenplaag en mijn uitvinding. Er zit nogal wat tijd tussen.”
Moeder Jolanda sluit niet uit dat het eerste zaadje voor De Vliegenknijper in Italië of Slovenië is geplant. ,,Dax is aan de lopende band dingen aan het bedenken. Zijn hoofd staat nooit stil. Soms komt het er gelijk uit, soms duurt het even. Maar er komt een moment dat hij op onderzoek uitgaat, of vragen gaat stellen. Elke avond op bed vuurt hij nog minstens tien vragen op ons af.”
Dax: ,,Ik heb al zoveel bedacht. Een reusachtige katapult bijvoorbeeld. Die moet ik in Nederland gaan bouwen. Die past niet in de camper.”
Jolanda: ,,In 2016, na onze fietstocht van Cambodja naar Nederland, hebben Brecht en ik besloten geen nieuwe spullen meer te kopen. Acht en een halve maand hebben we geleefd uit twee fietstassen. Meer bleken wij niet nodig te hebben. We zijn daarom gestopt met consumeren. De enige uitzondering die we sindsdien hebben gemaakt is voor klimtouwen en gordels. Omwille de veiligheid wilden we die niet tweedehands kopen. We hebben er lang over nagedacht, maar bergbeklimmen is zo’n grote passie dat we dat onszelf niet wilden onthouden. Door te klimmen hebben we onderweg zoveel moois gezien.”
Onbeschrijfelijk mooi of gaan we jullie avonturen ooit ergens teruglezen? ,,Het zit wel in onze achterhoofd om een boek uit te brengen. Een e-book inderdaad, of een boek van gerecycled papier. De familiefoto is niet gemaakt tijdens het klimmen, maar tijdens een wandeling naar de bergtop waar Montenegro, Albanië en Kosovo samenkomen. Van dit soort vergezichten hebben we een hele verzameling.”
Dax denkt niet uitsluitend binnen de lijntjes
Confettikanon
Ze vervolgt: ,,Als je zo leeft als wij, ga je dingen zelf in elkaar zetten. Dan ga je tweedehandsspullen of gevonden voorwerpen repareren. In Albanië vonden we eens een afgedankte televisie in de natuur. Met Dax haalt Brecht die uit elkaar en onderzoekt elk draadje. Net zolang totdat die het weer doet. Brecht, hij volgde in het verleden een designersopleiding, helpt Dax geregeld een handje. Maar net zo vaak laat hij hem zijn gang gaan. Laatst raapte Dax een leeg bierflesje op dat langs de kant van de weg lag. Daar maakt hij een muziekinstrument van. Of een confettikanon.”
Dax: ,,Die heb in mama’s gezicht afgevuurd. Of er een stofzuiger in de camper aanwezig is? Dat niet. Maar het waren grote stukken papier, dus makkelijk op te rapen.”
Het prototype van De Vliegenknijper is van karton. ,,Karton is niet stevig genoeg. Ik moet nog bedenken of ik hem in staal of hout wil hebben. Beide materialen zijn mogelijk.” Dat hij zoveel indruk maakt met De Vliegenknijper, dat er patent voor hem wordt geregeld en hij begeleiding krijgt vanuit de NOVU, vindt hij vooral grappig.
Jolanda: ,,Met De Vliegenknijper is het een beetje uit de hand gelopen. Als het nog serieuzer wordt, moeten we ons gaan bezinnen. Het past niet bij ons om nieuwe spullen op de markt te brengen. Of hergebruikt hout of staal geen optie is? Sowieso. Maar dan nog. De toegevoegde waarde moet heel groot zijn, gaan wij daarmee akkoord.”
Bedoeld voor pottenbakkers
Beroemd als uitvinder hoeft Dax niet per se te worden. Niet omdat hij verlegen is, want zodra hij weer iets heeft bedacht vertelt hij dat aan iedereen die het horen wil. Hij loopt over van enthousiasme. Wat hij bedoelt, is dat hij roem niet relevant vindt. Van niets iets maken, dat vindt hij vooral tof. Na een jaar in de camper weet hij dat je met weinig geld heel ver kunt komen. ,,Ik hoef echt niet rijk te worden van De Vliegenknijper.”
Welke uitvinding uit het verleden vindt hij eigenlijk de beste? ,,Het wiel. Omdat jullie zonder deze uitvinding nu niet in Bosnië zouden zijn? Een camper is een soort rijdend huis toch? Het is in elk geval een uitvinding die niet opnieuw gedaan hoeft te worden.” Hij pakt Het Allesboek over Uitvindingen van Martijn Min erbij. ,,Even kijken of er iets over het wiel instaat. Het wiel is al héél oud, 3500 jaar voor Christus uitgevonden. Niet bedoeld voor transport, maar voor pottenbakkers. Weer wat geleerd.”

Heb je ook een jonge uitvinder in je omgeving?
Doe mee met de Jonge Uitvinder Award tot 1 oktober.